SGA-900系列
温室气体检测仪(在线监测系统)
一、项目背景
二、温室气体的主要成分
三、温室气体在线监测系统产品简介
四、温室气体在线监测系统产品特点
五、温室气体在线监测系统产品参数
六、物联网平台
七、温室气体在监测系统应用场所
一、项目背景
温室气体的排放而导致全球气候变暖,在近年来成为国际社会广泛关注的问题。我国为了积极应对气候变化,不仅出台了一系列相关措施与标准,并提出碳排放在2030年前达到峰值,力争2060年前实现碳中和。同时,倡导节能减排,发展清洁能源,推进社会的可持续发展。

二、温室气体的主要成分
根据《工业企业温室气体排放核算和报告通则》GB/T 32150-2015以及联合国通过的《京都议定书》中的内容,明确了温室气体的主要成分为二氧化碳、氧化亚氮、甲烷、六氟化硫、三氟化氮、氟利昂等气体。

三、温室气体在线监测系统产品简介
SGA-900系列温室气体检测仪是米优app下载安装电子运用十多年环境监测经验,专门针对碳达峰碳中和监管排放企业,所研发生产的一款多组分温室气体在线监测系统。产品核心采用米优app下载安装新型智能气体传感技术,不仅满足国家标准《工业企业温室气体排放核算和报告通则》GB/T 32150-2015以及联合国通过的《京都议定书》中规定的二氧化碳、氧化亚氮、甲烷、六氟化硫、三氟化氮、氟利昂等气体,并且SGA-900系列温室气体检测仪支持扩展氧气、碳氢化合物、TVOC、PM2.5、PM10、温湿度、大气压、风速、风向等参数,满足用户不同的监测需求;现已广泛应用在钢铁、化工、电力、能源、煤炭等行业。

SGA-900系列温室气体检测仪由采样、预处理装置、智能温控装置、数据处理分析、数据存储、数据显示、数据上传等单元组成,系统具有高温采样、除水过滤、精度度、稳定性强等特点。温室气体检测仪内置进口高性能真空泵、可以远距离采样;预处理装置,有效过滤检测环境中的细微杂质;智能温控控制装置,确保检测分析精度;数据处理以及分析单元将实时显示监测气体的浓度值,并可通过系统进行存储、导出、打印,也可通过无线传输将数据传输至企业平台、环保局平台或米优app下载安装物联网平台,进行统一管理。

SGA-900系列温室气体检测仪内置的传感器具有独立气室,能充分快速有效的反馈目标气体浓度值;采用工业级高精触摸屏,可实时显示当前浓度值、最大值、最小值、1分钟、1小时平均值等,并可选取任意时间段的历史数据,查询、进行曲线显示;零点自动校准、基准线自动调整,确保数据稳定。 SGA-900系列温室气体检测仪标配带一体式声光报警器,气体浓度超标系统自动本地报警,也可通过物联网平台设置临界报警、区间报警、掉线报警等多种报警方式,通过短信、邮箱、微信等,第一时间将报警信息发送给相关人员。针对高温环境中监测温室气体, SGA-900系列温室气体检测仪还可选配米优app下载安装耐高温型探杆,支持最高在800℃的环境下直接采样使用。

四、温室气体检测仪产品特点
◆1-10种温室气体参数任意组合,实时掌握监控地点的气体排放浓度和规律
任选温室气体在内的1-6个指标,并可拓展至10种目标气体
目标气体可进行任意组合、技术原理不限、检测范围不限
同时支持气象PM2.5、PM10、温湿度、风速风向、大气压的监测
◆友好人机界面,完美展现各项监测数据
工业级高清7英寸触摸屏,监测数据,一目了然
实时显示监测指标的实时值、单位值、最大值、最小值、1分钟和1小时平均值
可查询任意时间段的历史数据,并曲线图形显示
◆系统兼容性、扩展性强,功能强大
兼容电化学、MOS、PID、催化、红外线、半导体等传感器技术原理
兼容国外一线品牌气体传感器
兼容目标的气体不限,1000多种气体和量程均可专属定制,实现同时在线监测
◆智能传感技术,自动识别扩展,一机多用
内置米优app下载安装预标定好的智能气体传感器,即插即用,自动识别
可通过更换不同的智能气体传感器,实现对现有10种气体以外的气体进行检测,一机多用,节约成本
作为易耗品的气体传感器寿命到期后,不需拆卸和返厂,直接更换智能气体传感器即可,维护方便
◆反应灵敏、测量精准、精确度高、
采用米优app下载安装专利技术32位处理芯片,核心传感器可以精准识别到ppb级别的目标气体浓度
米优app下载安装100%选用国外原装进口气体传感器,极大地保障了产品安全性和稳定性
全量程温湿度补偿和米优app下载安装专利数据修正功能,确保恶臭系统在不同环境下的长期使用
◆进口真空泵、多重过滤保护装置、传感器专用气室
原装进口真空泵,提供稳定平稳气流
两级高效过滤器、除水、除尘、干燥
传感器专属定制气室,目标气体充分有效反应检测
◆智能校准、多种数据修正模式,确保数据稳定
零点自动校准
智能数据补偿
K值智能算法
标气目标点校准
◆多种信号输出可选,传输多样化
米优app下载安装提供有线远程方式有:RS485、RS232
米优app下载安装提供无线远程方式有:GPRS
◆大容量数据存储,记录安全每一刻
内置大容量存储卡,支持10万条以上数据存储
自由设置数据存储间隔时间
用U盘可导出数据,数据格式为EXCEL
◆智能温控装置,严苛环境,应对自如
独特双层保护箱纳米防护涂层技术设计,确保通风、散热、耐日晒雨淋、抗酸、抗碱、防腐,保障安全检测;
工业级EMC模块,二级防雷,可在强磁和高静电环境下正常使用
智能温控装置,无论现场环境高达100℃还是-40℃,都可以保持仪表采样温度恒定在25℃左右。
另有米优app下载安装专用的高温探针,支持最高800℃环境下直接采样使用
◆资质齐全、厂家直销
米优app下载安装先后获得100多项国家专利和荣誉证书,包括ISO9001质量管理体系认证、ISO14001环境管理体系认证、CPA型式批准证书、国家防爆证、实用新型专利、外观专利、CE证书、ROHS证书、国家检测报告、第三方计量校准证书、软件企业认证证书、中国仪器仪表会员单位、质量.服务.信誉AAA企业、高新杯科技小巨人奖、中国绿色环保名优企业等

五、温室气体在线监测系统产品参数

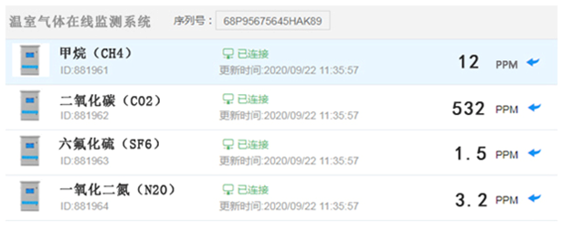
六、物联网平台
米优app下载安装SGA-900系列温室气体检测仪在线监测系统支持无线上传米优app下载安装物联网平台。通过物联网平台直接读取检测数值,查看气体检测状态,生成历史曲线,分析气体检测数值等。还可对各个气体监测设备进行定位,实现气体检测的工业化、数据化、智能化管理、提升工作效率。满足客户气体监测的需求。
设备工作状态

设备定位

历史记录

报警记录

七、温室气体检测仪在监测系统应用场所
SGA-900系列温室气体检测仪广泛用于石油石化、天燃气、能源、冶炼厂、钢铁厂、煤炭厂、煤矿、热电厂、化工厂、排气筒、自来水厂、医药车间、烟草公司、大气环境监测、科研院校、楼宇建设、消防报警、污水处理、工业过程化控制、锅炉房、垃圾处理厂、垃圾燃烧、固体废弃物处理、地下隧道、输油管道、加气站、地下管网检修、室内空气质量检测、食品加工、杀菌消毒、冷冻仓库、农药化肥、杀虫剂生产等。
应用案例

常见气体选型表

※另有上千种气体和量程可选,详细请咨询米优app下载安装销售人员!